1. 讲师库
平台上的讲师按照类别分为内部讲师,教练导师,外部讲师及平台讲师。按照等级又分为金牌讲师,银牌讲师以及铜牌讲师。
内部讲师,教练导师和外部讲师由企业自建,其中内部讲师,教练导师为该企业内部人员,新建这两类师资时从组织机构中指定人员来担任。外部讲师是企业建立的外部师资,不是企业内部人员。平台师资是实施时由平台推送到企业的课程,其讲师会自动添加到企业的平台讲师库中。企业可对自建的内外部讲师,以及教练导师进行编辑,平台讲师只可查看或删除。

1.1 添加讲师
添加内部讲师或教练导师,都是从企业内部人员中选择。

添加外部讲师,输入讲师基本信息,该讲师就加入了师资库。

如果这个外部讲师和平台讲师需要登陆该企业中,需要给他们开设账号。在讲师列表页的讲师账号里设置登陆名称(登陆的账号名),密码以及手机号等信息,给讲师开通账号。

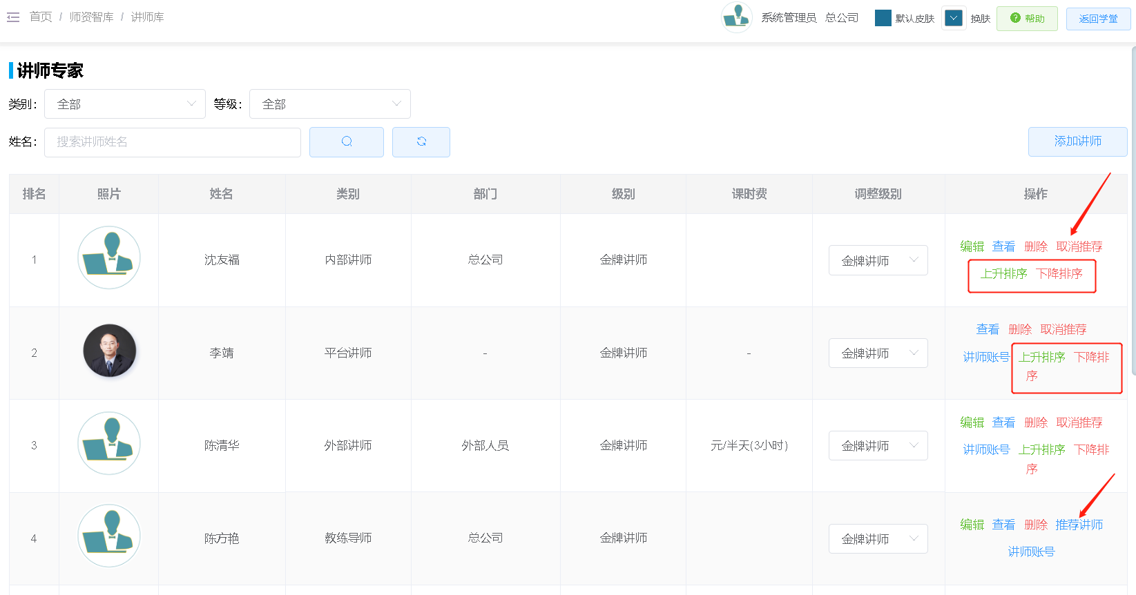
1.2 推荐讲师
系统可以设置最多三位推荐讲师,被推荐的讲师会出现在学员端首页的推荐师资页面上。这三位讲师可根据需要设置推荐的排序。推荐后可以取消推荐。

1.3 调整讲师级别
企业可根据情况定期调整讲师级别

2. 智库机构
可以添加及管理智库机构信息

作者:admin 创建时间:2022-08-04 10:55
最后编辑:chenlin 更新时间:2023-10-08 08:41
最后编辑:chenlin 更新时间:2023-10-08 08:41