课程管理
1. 查看平台课程
平台课程可在课程管理的系统课程库中查看。
2. 新建企业课程
企业也可上传自己的课程,在课程管理的企业课程库中,点击“新建课程” 进行上传。

第一步:填写基本信息,包括课程名称,图片,介绍,讲师等。课程所属的能力素质项可以多选。
如果该课程属于某个系列课,可以在下拉列表中选择所属的系列课名称。初次新建系列课时,直接在输入框中输入系列课的名称来新建一个系列课。序号指该门课程属于这个系列课中的第几门课程。设置好系列课后,员工学习一个系列课中的某一课时,系统会优先推送该系列课下的其他课程。

从师资库中选择该门课程的讲师,如果这个讲师不在师资库里,需要先在系统中新建该讲师,具体步骤见师资智库中的“添加讲师”。
需要时可以设置改名课程属于哪个课程标签,方面后期检索管理。课程标签的设置见本章第4部分:课程标签管理。

第二步:上传课程目录(视频文件),一门课程可以有多个视频。一次上传一个,需多次上传。

第三步:上传课件,一门课程可以有多个课件。一次上传一个文件,需多次上传。

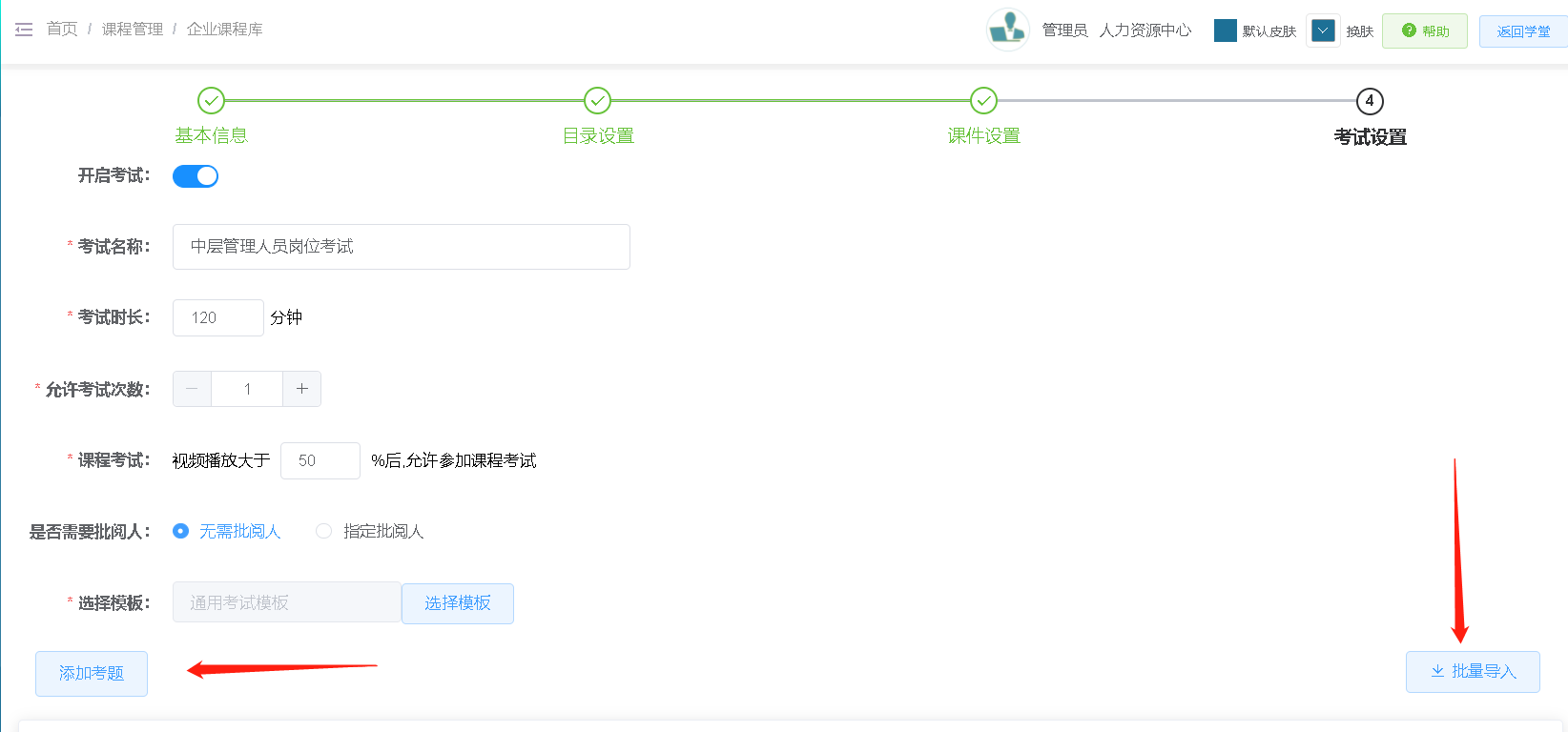
第四步:考试设置。若课程需要考试,可开放考试设置。输入考试基本信息,考试时长,考试次数(最多3次),开放条件等。

添加课程考题,可以批量导入考题,也可以手动单题导入。平台支持单选,多选,判断,问答四种题型。单选,多选和判断题,需要在选项中选中正确答案,以便系统自动批阅。若考试题中有问答题,需在考试基本信息设置中指定批阅人,人工批阅。

考试题目输入完成后,系统回到考试设置页面,点击保存按钮,完成考试相关设置。

3. 课程管理
在企业课程库里,可以对课程进行编辑,删除,上下架等操作。同时可以将课程导出EXCEL列表,注意,导出的课程列表为当前显示的一页课程列表,如需导出所有课程,请调整页面下端每页显示的课程条数,每页最多可显示1000条数据。

其他管理功能如下:
- 设置课程所属部门:选择了所属部门后,只有具有查看该部门课程权限的员工可以看见并管理该课程。如何设置员工可管理的课程所属部门,请查看人员管理中,“管理人员账号”。

- 推荐课程:管理员可以将课程按照部门,岗位,职级,政治面貌,性别等条件推送给相关员工。推荐课程会出现在被推送员工首页的 “推荐课程” 里。

- 设置热门:可将课程设为热门课程,热门课程会出现在所有员工首页的 “热门课程” 中。

- 管理留言:在管理留言中可以查看,删除学员在课程学习页面的发言内容。

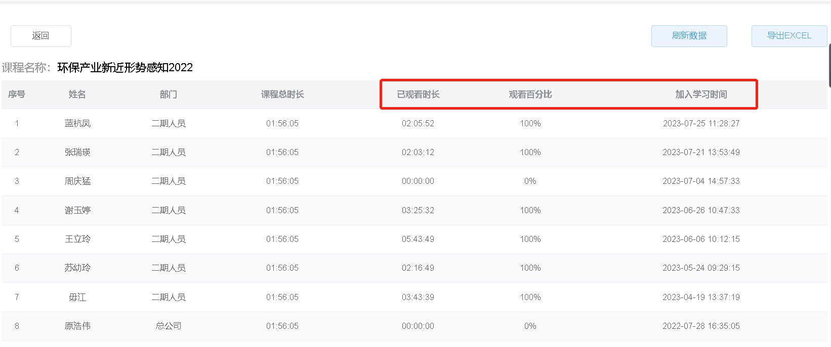
- 查看课程学习情况:点击课程功能栏里的“学习情况”,可以查看该门课程员工的学习数据,包括加入学习时间,观看时长,观看百分比等。

4. 课程标签管理
课程除了用能力项进行分类以外,还可以用标签进行管理,比如行业标签,隶属标签等。通过标签,可以更加灵活地对课程进行筛选。
第一步:新建课程标签。在系统管理模块中,标签管理页面,点击“新建课程标签”,输入标签名称,完成新建。

第二步:配置课程。
给某一标签配置课程,点击“配置课程” 进入新页面,点击右上角的 “添加课程”,可按照素质项,等级,讲师等条件搜素课程。条件输入完毕后,点击“筛选课程”,选择后点击“添加” 完成配置。标签内的课程可以多次添加。

最后编辑:chenlin 更新时间:2023-10-08 08:41